BONOMI INDUSTRIES SRL ball valves have a unique feature which gives them substantial performance advantages over many other ball valves. The lip portion of the Ptfe (like DuPont Teflon®) seats in all BONOMI INDUSTRIES SRL ball valves is free to flex. The seats act as springs, which can absorb variations in temperature or pressure.
This gives BONOMI INDUSTRIES SRL the following advantages:
- Valve operating torque remains low and relatively uniform, throughout the temperature and pressure range
- The valves give bubble-tight sealing, under either pressure or vacuum
- Even if the temperature swings widely, the seat lips flex elastically, and are not damaged.
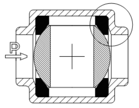
Here is a sketch of a typical BONOMI INDUSTRIES SRL ball valve. You are looking downward. The top half of the valve has been removed so you can see the internal parts.

Notice that the ball is sandwiched between two Ptfe (like DuPont Teflon®) seats, one on the left and the other on the right. In the following pictures we will zoom in on the circled area.
Here is a magnified drawing of the circled area, showing the flex space which is left behind the seat lip. This open space allows the seat lip to flex without damage or permanent distortion.

When the valve is assembled the two Ptfe (like DuPont Teflon®) seats are squeezed (“pre-loaded”) against the ball. In this sketch we see the ball and seat after the valve assembly is complete. Notice how the lip portion of the seat has moved part way into the flex space, but still has room for more flexing.

Returning to the first sketch – the pressure is shown coming from the left. (see the P arrow.) As the pressure increases, the ball will move slightly to the right, flexing the right side seat lip. But sealing contact with the left (upstream) seat is not lost because the lip of that seat, having been preloaded at assembly, will follow the ball and keep in contact. Dual sealing is preserved, since both seats are still contacting the ball.
Competitive Designs
Although other ball valve makers have flexible lips too (although not exactly the same design as BONOMI INDUSTRIES SRL) many of them have less lab testing and field experience than BONOMI INDUSTRIES SRL. Lab tests by BONOMI INDUSTRIES SRL (and also by some BONOMI INDUSTRIES SRL customers) have shown radical differences in the bubble-tightness and durability of some of the competitive products. Moreover there are still a number of ball valves (mostly coming from Asia) which have “jam type seats,” that is, seats which have no flex space at all.
Valves with Jam Type seats may seal well when they are at room temperature and brand new, but when they are exposed to higher temperatures the seats expand 7 times as fast as the valve body. There is no room for the seats to expand, so they “jam” the ball, causing an extreme increase in valve torque. At higher temperatures the balls in some of these valves cannot be turned because the ball is jammed. The stem will twist and break before the ball will turn. Also, even if the valve is cooled down again before anyone tries to actuate it, the seats will have extruded and taken a permanent deformation during the time they were overheated and overcompressed. Then at lower temperatures the valve may leak.